DIN
985
s
s
A2/A4
Werkstoff/
strength
s
s
Oberfläche/
surface
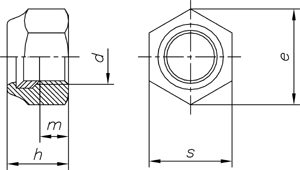
Sechskantmuttern selbstsichernd; niedrige Form
Prevailing torque type hexagon nuts with non-metallic insert; low type
d
M 3
M 4
M 5
M 6
M 8
M 10
M 12
M 14
M 16
M 18
M 20
M 24
M 27
M 30
h max.
4
5
5
6
8
10
12
14
16
18,5
20
24
27
30
m
2,7
3,2
3,5
4,5
6
7
9
10
11
14
15
16
19
23
s
5,5
7
8
10
13
17
19
22
24
27
30
36
41
46
Nicht aufgeführte Abmessungen und/oder Ausführungen bitte anfragen.