DIN    7978 A 
 ISO    8736 A 
   s   
      
 Werkstoff/     Stahl, ungehärtet  
 strength     steel, unhardened  
   s    
 Oberfläche/     geschliffen  
 surface     polished  

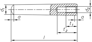
Kegelstifte mit Innengewinde
Taper pins with internal thread


 d1 h10  6  8  10  12  16  20 
 d2  M 4  M 5  M 6  M 8  M 10  M 12 
 t1  6  8  10  12  16  18 
 t2  10  12  16  20  25  27 
 a  0,8  1  1,2  1,6  2  2,5 

Maße in mm


Nicht aufgeführte Abmessungen und/oder Ausführungen bitte anfragen.