DIN    6330 
   s   
   s   
     10 
 Werkstoff/      
 strength      
   s   s  
 Oberfläche/      
 surface      

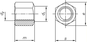
Sechskantmuttern 1,5 d hoch, Form B
Hexagon nuts, 1,5 d high, Form B


 d 1  M 8  M 10  M 12  M 16  M 20  M 24  M 30  M 36 
 d 2  9  11,5  14  18  22  26  32  38 
 m  12  15  18  24  30  36  45  54 
 s  13  16  18  24  30  36  46  55 

Maße in mm


Nicht aufgeführte Abmessungen und/oder Ausführungen bitte anfragen.