DIN    1804 W 
   s   
   s   
     5 
 Werkstoff/      
 strength      
   s   s  
 Oberfläche/      
 surface      

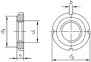
Nutmuttern, ungehärtet und ungeschliffen
Slotted round nut for hock spanner, non-hardened and non-polished



Maße in mm